Publicité
Publicité

Apple : un futur iPhone à écran incurvé ?

Johann Mise - Mis à jour le
Apple : un futur iPhone à écran incurvé ?
©

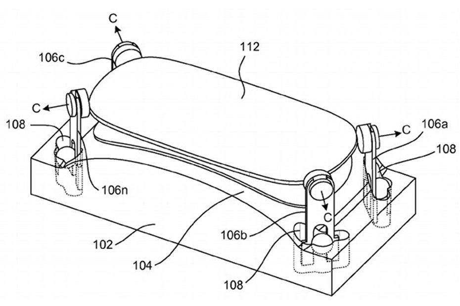
Le constructeur a déposé un brevet pour un écran incurvé, moins polluant et plus rapide à produire.

Apple copie Samsung. Le premier concurrent d'Apple sur le marché des smartphones a déjà expérimenté par deux fois des produits aux écrans incurvés : les Google Galaxy Nexus et Nexus S. Cette fonctionnalité ne change pas fondamentalement l'appareil mais offre un confort d'utilisation amélioré, une fois porté à l'oreille.

La suite après cette publicité
La suite après cette publicité

Plus rapide à produire. Apple rencontre actuellement de gros problèmes de production pour ses écrans très haute définition. Or ce format incurvé permet non seulement une production plus rapide, mais également moins polluante que les méthodes actuelles.

Pour 2014 ? Comme chaque dépôt de brevet, difficile de savoir si Apple choisira de l'exploiter ou non. Il est peu probable que la marque à la pomme n'applique ce nouveau format au prochain modèle d'iPhone (l'iPhone 5S ?) mais on peut imaginer un écran incurvé pour un éventuel iPhone en 2014.

La suite après cette publicité
La suite après cette publicité

À LIRE AUSSI ? L'iPhone 5S déjà en préparation ?